MD/3000 med 280 / 287
Kl. 2 & 8, sett bakifrån
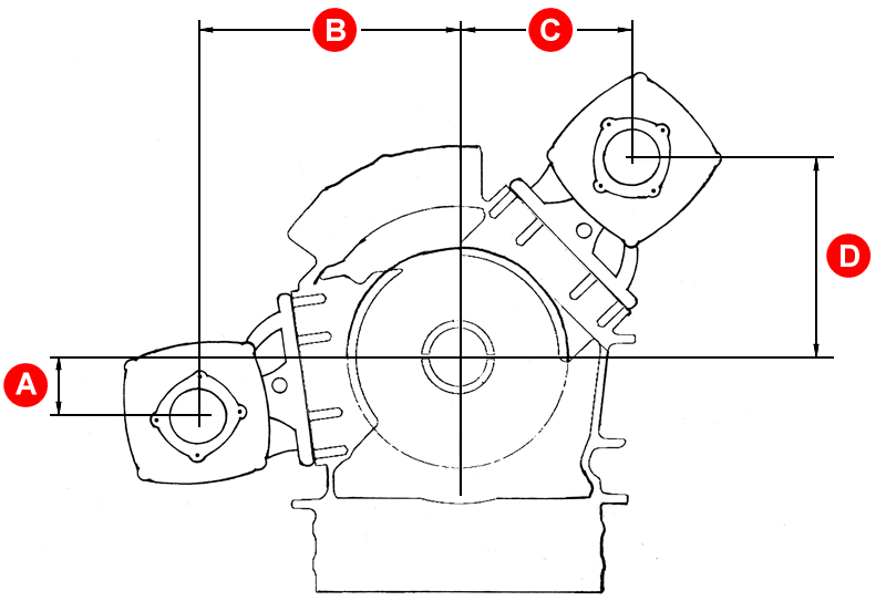
| Modell / Mått | A (mm) | B (mm) | C (mm) | D (mm) |
|---|---|---|---|---|
| 280 / 287 - Utförande 3 | -13,5 | 266,0 | 205,0 | 169,5 |
| 280 / 287 - Utförande 5 | -60,5 | 259,0 | 172,0 | 203,0 |
| 280 / 287 - Utförande 8 | -37,0 | 262,5 | 188,5 | 186,5 |
| Negativa mått anger placering under centrumlinjen. Rotationsriktning samma som från motorn. | ||||
| Totalt avstånd | |
|---|---|
| DIN 5462 pumpmontering | 366,5 mm |
| Medbringare DIN 100 | 384,7 mm |
| Medbringare DIN 120 | 388,0 mm |
| Spicer 1410 | 385,5 mm |
| Avstånd från växellådans framkant till anläggningsyta på fläns för pump eller bakkant på medbringare. | |
